Ne croisez pas les sangles d’arrimage dans vos voitures et minibus accessibles !
Depuis plus de 11 ans désormais, nous livrons chaque jour des voitures et minibus adaptés pour le transport de personnes à mobilité réduite. Si le fonctionnement général de l’aménagement est souvent très simple à appréhender, nous insistons plutôt sur le côté sécurité qui nous parait primordial. L’actualité très récente dans le Nord nous rappelle qu’une voiture qui transporte une personne en fauteuil roulant est soumise aux mêmes risques d’accidents qu’une voiture classique, et donc que les passagers doivent tous être correctement arrimés. Il existe pourtant une croyance forte et tenace dont nous ignorons l’origine, qui consiste à dire que les sangles d’arrimage d’un fauteuil roulant doivent être croisées. C’est faux, et nous vous expliquons pourquoi…
Une directive européenne très claire sur le sujet
Petit rappel. Pour transporter une personne en fauteuil roulant dans une voiture, il faut d’abord arrimer le fauteuil roulant avec 4 sangles (deux à l’avant, deux à l’arrière) et attacher le passager sur son fauteuil roulant à l’aide d’une ceinture de sécurité homologuée. Jusque là, il n’y a rien de bien compliqué, encore faut-il bien positionner tous ces éléments.
Nous ne le répéterons jamais assez, les crochets d’arrimage doivent être positionnés sur la structure d’un fauteuil roulant manuel, ou sur les crochets prévus à cet effet sur un fauteuil roulant électrique. Accrocher un fauteuil roulant par un élément amovible (roue, cale-pied, accoudoir) reviendrait à ne pas l’accrocher du tout, ces éléments n’étant pas du tout prévus pour résister en cas de choc. Rappelons également que les utilisateurs du véhicule sont tenus de vérifier que le fauteuil roulant est bien homologué pour être transporté en voiture.
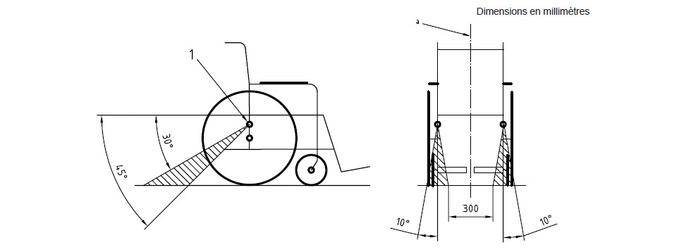
Alors pourquoi donc est-il interdit de croiser les sangles d’arrimage, alors que cela peut faire gagner de la place ?
Car le système d’arrimage par sangle, pour être efficient, doit travailler dans la direction de l’effort en cas de freinage ou d’accident. Pour assurer des conditions de sécurité optimales, l’installation du système de retenu d’un fauteuil roulant doit être en conformité avec les exigences de l’Annexe XI appendice 3 de la directive 2007/46/CE et les exigences de la norme ISO-10542.
Cette norme ISO-10542 précise bien les angles préconisés pour les sangles arrière et emplacement des points d’ancrage du dispositif d’immobilisation :
4.2.2 Arrimage par sangles à quatre points
4.2.2.1 Les dispositifs d’arrimage par sangles à quatre points doivent être conçus pour assurer une fixation et une tension efficaces avec un grand nombre de types et de taille de fauteuil roulant tout en respectant les angles présentés aux Figures 3 et 4, en permettant le réglage de la longueur des sangles, l’ajustement des points d’ancrage du véhicule, ou les deux.
NOTE La figure I.1 présente les zones de point d’attache des fauteuils assurant l’efficacité d’un dispositif d’immobilisation par sangles à quatre points.
4.2.2.2 Toutes les pièces de fixation d’extrémité des dispositifs d’arrimage à quatre points doivent s’engager efficacement avec les points de fixation spécifiés en Figure E.4 et fonctionner en conséquence lors des essais de performance de l’Article 5.
Légende
1 points de fixation arrière
NOTE Les angles représentés sont obtenus en projetant l’angle de chaque sangle d’attache sur un plan vertical parallèle (vue latérale) ou perpendiculaire (vue arrière) au plan de référence du fauteuil.
a Plan de référence du fauteuil.
Figure 3 – Angles préconisés pour les sangles arrière et emplacement des points d’ancrage du dispositif d’immobilisation
Les textes de loi sont donc très clairs, les sangles d’arrimage avant ou arrière ne doivent pas être croisées.
Contactez les équipes Handynamic en cas de doute
Chez Handynamic, votre sécurité est une de nos priorités. Nous constatons malheureusement trop souvent de mauvaises utilisations des sangles d’arrimage et des ceintures de sécurité, qui ne sont parfois même pas installées pour transporter des passagers en fauteuil roulant. Les utilisateurs ne se rendent pas compte des risques pris pour les passagers transportés, mais même pour eux-mêmes… Un fauteuil roulant non arrimé devient un véritable projectile en cas d’accident !
N’oubliez pas que tous les membres d’Handynamic sont formés aux normes de sécurité en vigueur, ainsi qu’aux bonnes pratiques pour vous conseiller. En cas de doute sur l’utilisation de votre voiture accessible, n’hésitez pas à nous contacter, nous serons ravis de vous répondre pour améliorer la sécurité de vos voyages…







[…] Les véhicules prévus pour transporter des personnes en fauteuil roulant doivent être équipés d’un système de retenue conforme aux exigences de l’Annexe XI appendice 3 de la directive 2007/46/CE et de la norme ISO-10542. Nous avons consacré un article complet à ce sujet, pour démontrer qu’il ne faut surtout pas croiser les sangles. […]
Je change ma voiture pour prendre un Kangoo Renault TPMR pour transporter mon épouse en fauteuil roulant. Nous avons un fauteuil dit « de transfert » qui ne possède pas d’appui tête. Sur la photo que vous publiez la personne qui va être transportée n’a pas d’appui tête à son fauteuil. Est-ce normal ? (le coup du lapin en cas de choc) Est-ce que la réglementation n’impose pas de repose tête. Je cherche à vérifier (sans succès ) cette information . Pouvez vous me conseiller.
Avec mes remerciements et mes cordiales salutations.
Bonjour Monsieur,
Vous avez raison, certaines de nos photos sont prises avec des passagers en fauteuil roulant manuel qui ne sont pas équipés d’appui-tête. Cet équipement n’est pas obligatoire à l’heure actuelle, bien qu’il soit très utile et sécurisant en cas de choc arrière afin d’éviter un coup du lapin.
La règlementation n’impose donc rien, mais nous ne pouvons que vous conseiller d’investir dans un appui-tête adapté au fauteuil roulant de votre épouse qui sera un plus en termes de confort et de sécurité pour les voyages en voiture. Vous trouverez un appui-tête universel sur la Boutique Handynamic en suivant ce lien : https://boutique.handynamic.fr/equipement-fauteuil-roulant/equipement-de-confort/appui-tete-universel-pour-fauteuil-roulant.html
Dynamiquement
Antoine, Handynamic
[…] Point important pour les sangles d’arrimage, il est interdit de les croiser. Si cette pratique peut être vue parfois, elle n’est pas autorisée pour autant. Vous pouvez retrouver un article détaillé sur le sujet en cliquant ici. […]
Question faut-il mettre les freins d’un fauteuil roulant manuel dans un tpmr alors qu’il est sangler au sol par 4 crochets.
Bonjour,
Oui il est conseillé de mettre les freins du fauteuil roulant manuel pendant le transport, cela permet de le stabiliser notamment lors des premiers kilomètres. En effet, même si vous arrimez bien le fauteuil roulant avec les 4 sangles prévues à cet effet, il peut subsister un petit jeu qui va se réduire avec les successions de virages et accélérations/freinage, et qui peut être désagréable pour votre passager handicapé.
C’est donc une action simple pour le confort de votre proche en fauteuil roulant.
Dynamiquement
Antoine, Handynamic
La ste de transport que j utilise m’affirme qu il ne faut pas mettre les freins du fauteuil
Puisque celui ci est déjà arrimé avec les sangles du véhicule.
Qu’en est il exactement?
Merci
Bonjour,
La société de transport qui vous affirme cela n’a ni tord, ni raison. La règlement n’impose pas d’enclencher les freins du fauteuil roulant lors d’un transport, mais il est souvent plus confortable pour les utilisateurs de le faire. Cela stabilise réellement le fauteuil roulant lors des virages, freinages et accélérations. C’est donc un conseil d’utilisation plutôt qu’une obligation.
Dynamiquement
Antoine, Handynamic
Bonjour,
Je viens d’apprendre que le fauteuil roulant de ma fille (Invicare action 4 NG avec assistance électrique de 2023) n’est pas entièrement homologué pour les transports (taxi notamment). Nous avons un véhicule adapté également de 2020.
Sur le cadre, il y a un autocollant orange, sur lequel on voit : un logo danger – un logo livre avec un I et un logo représentant un mousqueton barré.
Pouvez vous m’éclairer et me dire ce que nous devons faire ?
Merci beaucoup de vos conseils.
Bonjour,
Effectivement le fauteuil roulant de votre fille n’apparaît pas comme homologué pour le transport en voiture. Le fabricant indique même qu’il ne faut pas l’utiliser dans le cadre d’un transport, et nous ne pouvons que vous conseiller de ne pas l’utiliser dans ce cadre. En cas d’accident, il risque en effet de ne pas résister ou même d’occasionner des blessures à votre fille.
Le mieux serait d’en parler à votre revendeur de matériel médical, qui doit vous indiquer des modèles compatibles.
Dynamiquement
Antoine, Handynamic
Bonjour qu’est ce qui pourrait expliquer le blocage des sangles d’arrimage ? Qui ne se detirent plus , est des fusibles grillees ? Merci
Bonjour,
Nous vous suggérons de contacter le service après-vente d’Handynamic qui pourra vous aider à résoudre votre problème. Toutes les coordonnées sont disponibles sur le lien suivant : https://www.handynamic.fr/voitures-pour-particuliers/mes-avantages-avec-handynamic/service-apres-vente-handynamic
Dynamiquement
Antoine, Handynamic